توضیحات تکمیلی

Body Design Conditions

ANSI/ASME 300 (PN50)

PMA Maximum Allowable Pressure

51 bar g

TMA Maximum Allowable Temperature

400 °C

maximum cold hydraulic test pressure

78 bar g

Arike Product Inverted Bucket Steam Traps SCA Series Parts Material

Arike Product Inverted Bucket Steam Traps SCA Series Parts Material

Arike Product Inverted Bucket Steam Traps SCA Series Discharge Capacity

Pressure/temperature limits

Arike Product Inverted Bucket Steam Traps SCA Series Pressure/temperature

Differential pressure limitations

Arike Product Inverted Bucket Steam Traps SCA Series Pressure/temperature

 

Arike Product Inverted Bucket Steam Traps SCA Series Dimension and weight

Arike Product STEAM TRAP Inverted Bucket SCA Series

SCA Series

The product is available with material certification to EN 10204 3.1.B as standard. Certification must be specified at the time of order.

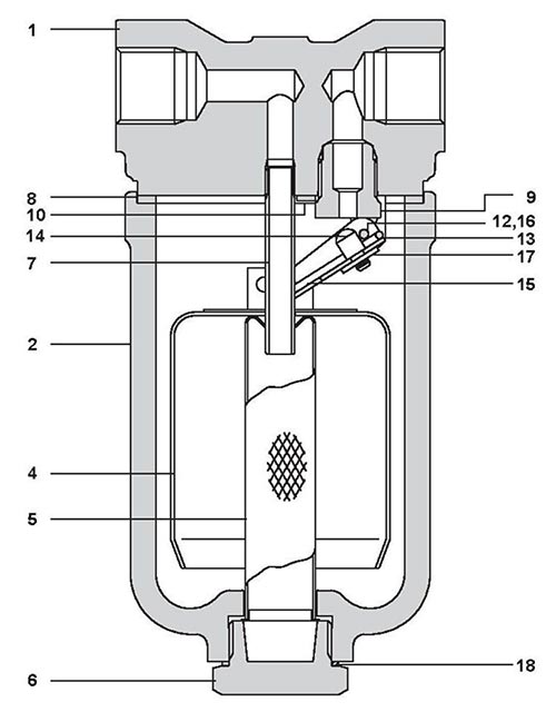
The Spirax Sarco SCA series is a maintainable carbon steel inverted bucket steam trap with in-line connections. They are suitable for a wide range of pressures and incorporate an integral strainer.

محصولات مرتبط